About
Careers
Leadership
Focus Areas
Contact
About
Careers
Leadership
Focus Areas
Contact
Category - Distributed Energy Resources
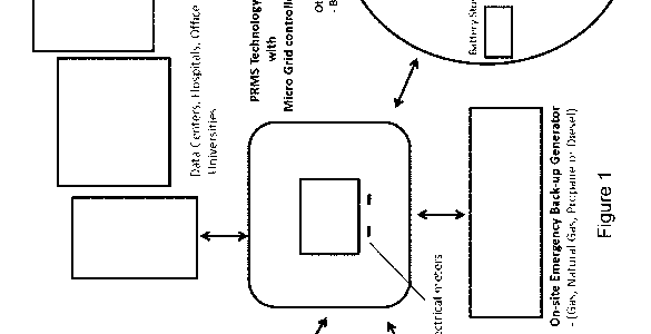
Distributed Energy Resources
US Patent 9,880,580
Distributed Energy Resources
US Patent 11,782,470
Distributed Energy Resources
US Patent 12,181,904
Distributed Energy Resources
US Patent 11,625,058
About
Careers
Leadership
Focus Areas
Contact