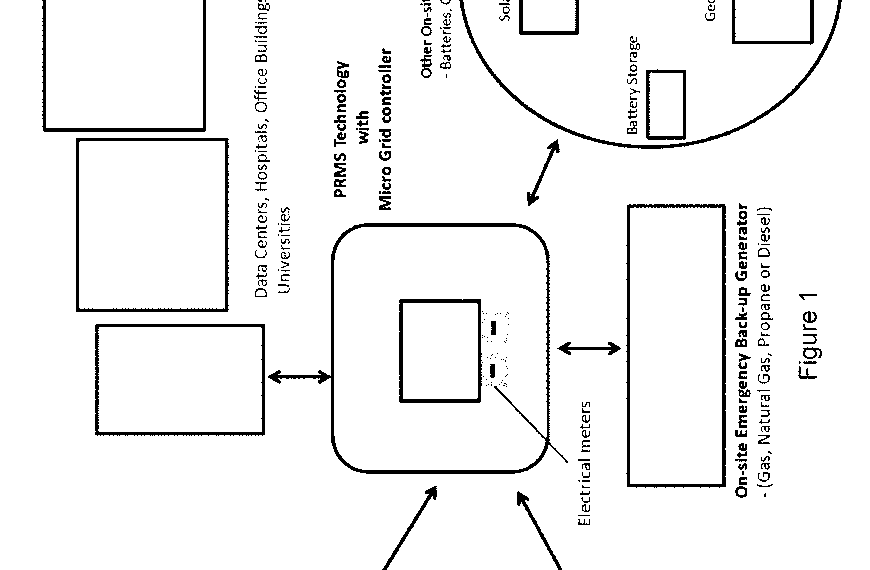
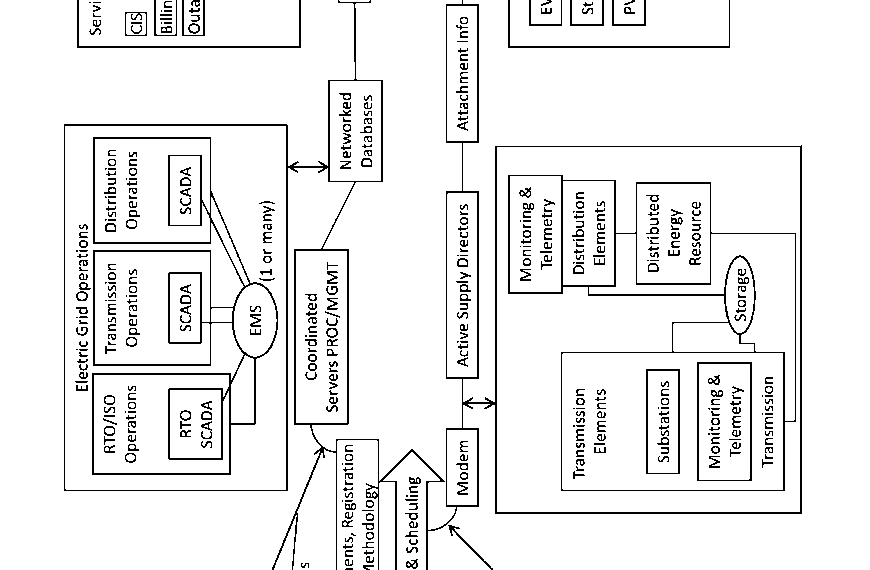
Demand Response
Demand response programs need accurate baselines and verifiable performance to scale. Causam provides the underlying IP that enables consistent, near real-time measurement and event validation—so DR platforms can deliver reliable outcomes, reduce market friction, and unlock higher-value grid services.
















